rear master reservoir o-ring?
- z19OO
-
Topic Author
- Offline
- User
-

Registered
- Posts: 244
- Thanks: 3
rear master reservoir o-ring?
26 Mar 2014 08:31
Anyone know when I can just get that part? I took mine apart to clean inside and its all buggered up and is leaking now. I just want the o-ring that seals the reservoir.
1975 z1 900
1979 kz650b
1979 kz650b
Please Log in or Create an account to join the conversation.
- 74ullc
-
- Offline
- User
-

Registered
- Posts: 325
- Thanks: 23
Re: rear master reservoir o-ring?
26 Mar 2014 10:22
Only place I've seen them is Redline....says 76-79....but yours is a 75?
www.redlinecycle.com/Brk%20-%20Mast.%20C...ston%20-%20Rear.html
I would give them a call and ask.
Here is the listing with all the front/rear master cylinder stuff.....
www.redlinecycle.com/Brk%20-%20Mast%20Cyl%20Pts%20Index.html
www.redlinecycle.com/Brk%20-%20Mast.%20C...ston%20-%20Rear.html
I would give them a call and ask.
Here is the listing with all the front/rear master cylinder stuff.....
www.redlinecycle.com/Brk%20-%20Mast%20Cyl%20Pts%20Index.html
Gulf Coast, Texas
1977 KZ1000LTD
1984 VF700F
1977 KZ1000LTD
1984 VF700F
Please Log in or Create an account to join the conversation.
- Patton
-
- Offline
- KZr Legend
-

Registered
- Posts: 18567
- Thanks: 2103
Re: rear master reservoir o-ring?
26 Mar 2014 11:08 - 26 Mar 2014 11:08z19OO wrote: Anyone know when I can just get that part? I took mine apart to clean inside and its all buggered up and is leaking now. I just want the o-ring that seals the reservoir.
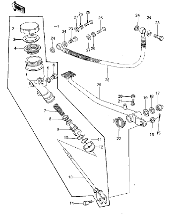
Large Kaw fours had drum rear brakes until rear disc was introduced on 1976 KZ900-B1 LTD. Thereafter, rear disc brakes were used on all large Kaw four models.
A rubber DIAPHRAGM part no. 43028-003 is the flexible rubber cup that fits onto the master cylinder reservoir before the cap is screwed on. The diaphragm cushions the fluid squirting back up into the reservoir from the piston bore during brake application, and reduces the splashing around, and seals the cap area against leaking.
May google the part number to produce several retail sources for the diaphragm.
Am thinking that the same diaphragm is used on most if not all stock large Kaw four master cylinders.
Could check at kawasaki.com to compare usage of the same part among various models, and will need to know whether the master cylinder at hand is indeed a Kawasaki component (as opposed to an after-market item or a master cylinder adapted from another brand of motorcycle.).
If needed, here's a link for help with navigating the kawasaki.com web-site and finding information such as parts diagrams, part names, part numbers, models sharing same part, availability, etc.
www.kzrider.com/forum/13-bike-related/37...imitstart=0&start=20
Good Fortune!
1973 Z1
KZ900 LTD
KZ900 LTD
Last edit: 26 Mar 2014 11:08 by Patton.
Please Log in or Create an account to join the conversation.
- z19OO
-
Topic Author
- Offline
- User
-

Registered
- Posts: 244
- Thanks: 3
Re: rear master reservoir o-ring?
26 Mar 2014 14:0874ullc wrote: Only place I've seen them is Redline....says 76-79....but yours is a 75?
www.redlinecycle.com/Brk%20-%20Mast.%20C...ston%20-%20Rear.html
Yup, that's the one I need. I should have stated its for a 1978 kz1000 with stock rear master cyl.
I looked on the Kawasaki site and they only show the whole MC, no p/n for the o-ring. I guess Redline it is. Thank you!
1975 z1 900
1979 kz650b
1979 kz650b
Please Log in or Create an account to join the conversation.
- Patton
-
- Offline
- KZr Legend
-

Registered
- Posts: 18567
- Thanks: 2103
Re: rear master reservoir o-ring?
26 Mar 2014 17:31 - 26 Mar 2014 17:47z19OO wrote: ... its for a 1978 kz1000 with stock rear master cyl.
I looked on the Kawasaki site and they only show the whole MC, no p/n for the o-ring. I guess Redline it is. Thank you!
kawasaki.com doesn't show the large o'ring listed at Redline.
www.redlinecycle.com/Brk%20-%20Trap%20Rsrvr%20O-%20Ring.html
Per kawasaki.com :
Good Fortune!
1973 Z1
KZ900 LTD
KZ900 LTD
Last edit: 26 Mar 2014 17:47 by Patton.
The following user(s) said Thank You: z19OO
Please Log in or Create an account to join the conversation.
Moderators: Street Fighter LTD
