When open throttle up pass 3k engine Bogs or Dies Help!
- Harris1975
-
Topic Author
- Offline
- User
-

Registered
- Harris
- Posts: 13
- Thanks: 1
Re: When open throttle up pass 3k engine Bogs or Dies Help!
18 Feb 2024 10:20
Hi thanks. Don’t think it’s the wiring loom. This is a brand new Moto gadget M-unit system will all new cables.i am running 4 earths to the frame……..
Paul Harris
Please Log in or Create an account to join the conversation.
- Mikaw
-
- Offline
- Sustaining Member
-

Registered
- Posts: 4826
- Thanks: 1851
Re: When open throttle up pass 3k engine Bogs or Dies Help!
18 Feb 2024 11:29 - 18 Feb 2024 11:32
Without knowing anything about the M-Unit, I didn’t know if it would conflict with the ignition timing. I found a good video for us old school guys that explained the M-Unit simply. Seeing how it doesn’t control timing at all it can be taken out of this diagnosis process. With that said thought, I think voltages to the coils should still be tested, especially if you’re running the coils through the OEM off,run,off engine stop switch. Also the charging system to make sure those are evaluated and can be eliminated.
If you’re thinking the plugs look lean, try lifting the choke lever some and test your throttle response. Also pull all the plugs and lay them on the head, making sure they are grounded and crank the engine. WhT does your spark look like? Are you running resistor plugs, if so do you have resistors in the HT caps or plug wire. Stacking up resistances will create a week spark. What is your battery voltage and what is the voltage to the coils. Do you have any style air filters fitted while testing your throttle response. No filters will cause a very lean situation and might be adding to this problem.
If you’re thinking the plugs look lean, try lifting the choke lever some and test your throttle response. Also pull all the plugs and lay them on the head, making sure they are grounded and crank the engine. WhT does your spark look like? Are you running resistor plugs, if so do you have resistors in the HT caps or plug wire. Stacking up resistances will create a week spark. What is your battery voltage and what is the voltage to the coils. Do you have any style air filters fitted while testing your throttle response. No filters will cause a very lean situation and might be adding to this problem.
1976 KZ 900 A4
kzrider.com/forum/11-projects/613548-1976-kz-900-a4
1976 KZ 900 B1 LTD
1978 KZ 1000 B2 LTD
1980 KZ 750 E1
Kowledge Speaks, But Wisdom Listens.
Jimi Hendrix.
1976 KZ 900 B1 LTD
1978 KZ 1000 B2 LTD
1980 KZ 750 E1
Kowledge Speaks, But Wisdom Listens.
Jimi Hendrix.
Last edit: 18 Feb 2024 11:32 by Mikaw.
The following user(s) said Thank You: Harris1975
Please Log in or Create an account to join the conversation.
- RedPill
-
- Offline
- User
-

Registered
- Posts: 28
- Thanks: 10
Re: When open throttle up pass 3k engine Bogs or Dies Help!
18 Feb 2024 13:35
^
Thank you for posting the M-unit research.
OP, If it’s the bike in your avatar it’s cool looking bike. Looking forward to you sorting it out.
Thank you for posting the M-unit research.
OP, If it’s the bike in your avatar it’s cool looking bike. Looking forward to you sorting it out.
The following user(s) said Thank You: Harris1975
Please Log in or Create an account to join the conversation.
- Bcot
-
- Offline
- User
-

Registered
- Posts: 26
- Thanks: 17
Re: When open throttle up pass 3k engine Bogs or Dies Help!
19 Feb 2024 06:23 - 19 Feb 2024 06:42
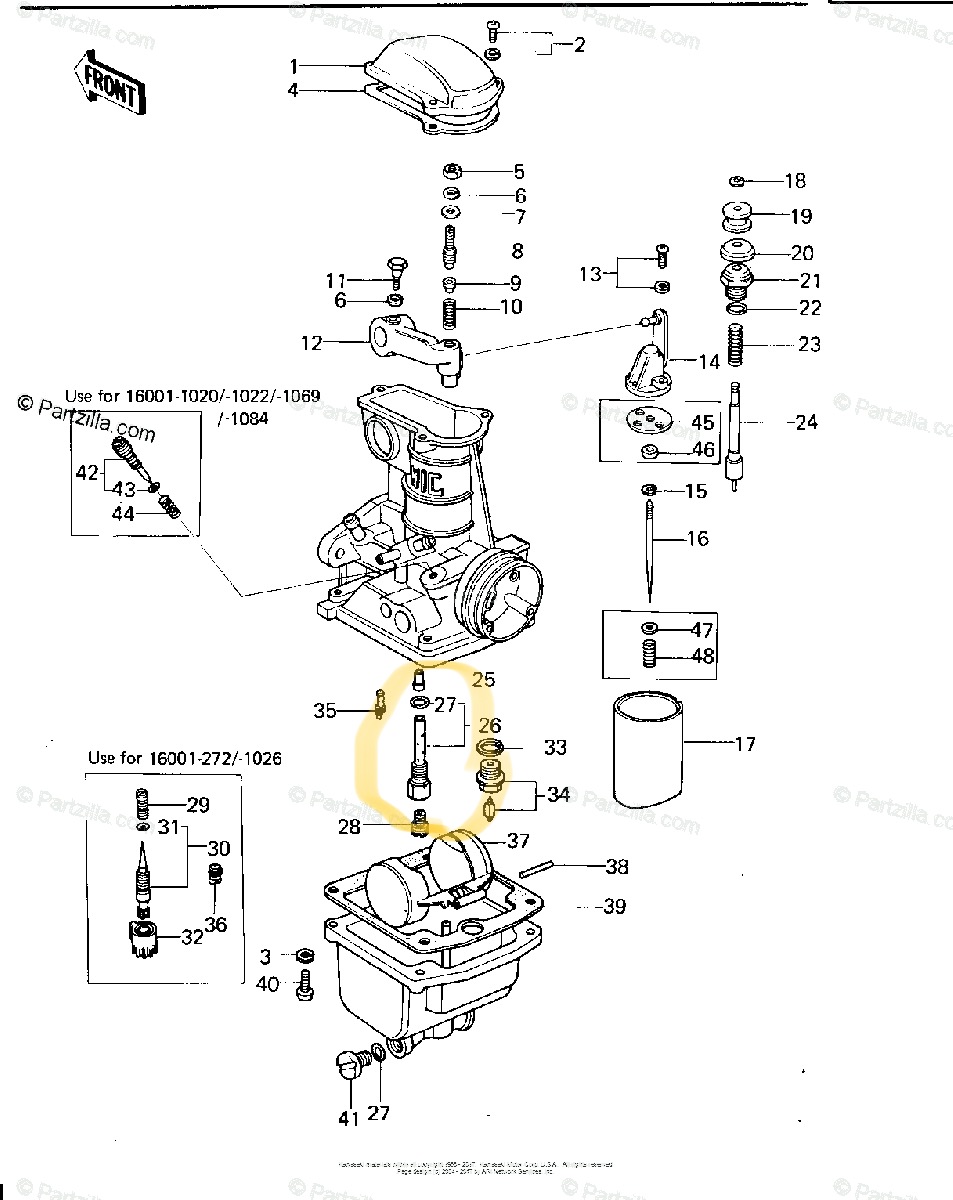
Don’t no if you got it fixed? three common mistake. Carbs not pushed all the way in to intake manifold rubbers. New ones can take a lot of force. Setting float level. The needle is spring loaded and if dry setting the float, some needles the spring can be weak enough that the float can depress the spring (with carb upside down)so when measuring float level it looks to high. When you adjust for this, you basically make float level way to low. The spring should not be depressed at all when setting.. Last ,,the vent nipples on the two venting carbs cannot be capped off. They also can’t be connected together with a hose. I also would pull the bowl drains (with motor off and cold) one at a time to make sure fuel flows freely. A cut water bottle works good to catch the gas. Just things I’ve seen. Sounds like isn’t pulling anything through the main set . Just running on idle circuit or choke. Don’t know your exhaust ,make sure it’s not plugged with rust or mouse house. Make the holes are clean in the bleed pipe and the o-ring is in place.
Last edit: 19 Feb 2024 06:42 by Bcot. Reason: Forgot something
The following user(s) said Thank You: Mikaw, Harris1975
Please Log in or Create an account to join the conversation.
- Harris1975
-
Topic Author
- Offline
- User
-

Registered
- Harris
- Posts: 13
- Thanks: 1
Re: When open throttle up pass 3k engine Bogs or Dies Help!
19 Feb 2024 08:29
Hi yes it’s the bike in the Photos. This is.a brand new build all new parts.
My m-Unit is all good with power i no a lot about m-units and the power and earths are all good to the coils.battery is new lithium, battery cranking out at 12.8
The only thing don’t no is the plugs are stranded and haven’t change the gap. Should i change the cap on the plugs.
My plugs are NGK R BK9ES. Is this right. And don’t No what you mean by resistor plugs.
Check it all out.back the factory standed.also brand new manifold rubbers float height is all good. The two vent pipes don’t have anything going to them. Is that right as i have pods.
And on card 2 behind the vent. I have capped off the vacuum one. That’s right yes?
My m-Unit is all good with power i no a lot about m-units and the power and earths are all good to the coils.battery is new lithium, battery cranking out at 12.8
The only thing don’t no is the plugs are stranded and haven’t change the gap. Should i change the cap on the plugs.
My plugs are NGK R BK9ES. Is this right. And don’t No what you mean by resistor plugs.
Check it all out.back the factory standed.also brand new manifold rubbers float height is all good. The two vent pipes don’t have anything going to them. Is that right as i have pods.
And on card 2 behind the vent. I have capped off the vacuum one. That’s right yes?
Paul Harris
Please Log in or Create an account to join the conversation.
- Mikaw
-
- Offline
- Sustaining Member
-

Registered
- Posts: 4826
- Thanks: 1851
Re: When open throttle up pass 3k engine Bogs or Dies Help!
19 Feb 2024 09:01 - 19 Feb 2024 09:03
I don’t find a listing for that plug. I find BR9eS
Restor plugs have a resistance built into the plug it’s inside the porcelain. It’s identified by an “R” in the plugs part number.
Restor plugs have a resistance built into the plug it’s inside the porcelain. It’s identified by an “R” in the plugs part number.
1976 KZ 900 A4
kzrider.com/forum/11-projects/613548-1976-kz-900-a4
1976 KZ 900 B1 LTD
1978 KZ 1000 B2 LTD
1980 KZ 750 E1
Kowledge Speaks, But Wisdom Listens.
Jimi Hendrix.
1976 KZ 900 B1 LTD
1978 KZ 1000 B2 LTD
1980 KZ 750 E1
Kowledge Speaks, But Wisdom Listens.
Jimi Hendrix.
Last edit: 19 Feb 2024 09:03 by Mikaw.
The following user(s) said Thank You: Harris1975
Please Log in or Create an account to join the conversation.
- Harris1975
-
Topic Author
- Offline
- User
-

Registered
- Harris
- Posts: 13
- Thanks: 1
Re: When open throttle up pass 3k engine Bogs or Dies Help!
19 Feb 2024 09:21
Hi sorry it’s my mistake. You are correct it’s the one you are saying br9es Nik R
is this right?
is this right?
Paul Harris
Please Log in or Create an account to join the conversation.
- Warren3200gt
-
- Offline
- User
-

Registered
- Posts: 1702
- Thanks: 890
Re: When open throttle up pass 3k engine Bogs or Dies Help!
19 Feb 2024 09:36
Resistor plugs OR resistor plug caps.
One or the other NOT both.
No resistors on either is also fine.
One or the other NOT both.
No resistors on either is also fine.
The following user(s) said Thank You: Harris1975
Please Log in or Create an account to join the conversation.
- Bcot
-
- Offline
- User
-

Registered
- Posts: 26
- Thanks: 17
Re: When open throttle up pass 3k engine Bogs or Dies Help!
20 Feb 2024 04:15 - 20 Feb 2024 08:39
Is the bogging at opening throttle ,while your trying to ride or just trying to free rev with no load? If bogging trying to ride,, will it free rev? Does putting the choke on a little help? Do the idle screws on the side of carb work,, meaning do they change how it idles when turned in or backed out,, do you have to screw them all the way in or back them way out( more than 4tuurns)?Does it fire right up when it’s cold or do you have to crank a lot and fiddle with it?Careful here, but are all four pipes getting hot when it’s idling? After you have warmed it up and tried to get it to rev and it dies out and (careful)immediately pulled the plugs ,are they clean and looking lean or sooty or wet?Sooty /wet could mean to much fuel or not enough spark and or timing. Will it idle down (1000 rpm)? How are you setting the idle because I don’t see a idle speed adjustment screw in the throttle bell crank assembly?Does it pop and sputter at idle?Not sure what your talking about you have plugged on the second carb I don’t see a vacuum port. Not a expert on 650 carbs but I think some had a vacuum port on carb 2 for automatic fuel petcock and that should be plugged if not used. (Pic)? I would make sure all the vapor blasting media is cleaned out of the carbs! Side note, for not having a idle speed screw(that I can see) the slides look a long ways up. And it might be just the way the photo looking down the two center carbs throats is taken,, but your carb sync looks way off to me.
Last edit: 20 Feb 2024 08:39 by Bcot. Reason: Adding
Please Log in or Create an account to join the conversation.
- Harris1975
-
Topic Author
- Offline
- User
-

Registered
- Harris
- Posts: 13
- Thanks: 1
Re: When open throttle up pass 3k engine Bogs or Dies Help!
20 Feb 2024 13:13
Hi Thankyou all for your help. So First question was the plugs think i have both resistor plugs a caps. So will buy new plugs.
2. The carbs do have an idle speed screw just wasn’t in on photo. And works.
3. Can’t ride bike on load. Hasn’t been on the road yet also will only tick over.
4. Bike starts on second or third time. Reeves up with choke in till warm about 3revs then take choke of and will idle and not pop.will idle at 1000rpm
4.taken the plugs out straight away all 4 slight black a bit .on the look.
5 as soon as i opening the throttle with no load. It wants to die. This is running main jet at 105.. pilot jet 15 clips needle on 3. And half to one turn out on the screw.
6. Felt like lasted week when running 17.5 pilots jets and main at 112.5 would start on the button. And would rev to 4000rpm the die.
what are you thinking? New plugs without the resistor and what next?
2. The carbs do have an idle speed screw just wasn’t in on photo. And works.
3. Can’t ride bike on load. Hasn’t been on the road yet also will only tick over.
4. Bike starts on second or third time. Reeves up with choke in till warm about 3revs then take choke of and will idle and not pop.will idle at 1000rpm
4.taken the plugs out straight away all 4 slight black a bit .on the look.
5 as soon as i opening the throttle with no load. It wants to die. This is running main jet at 105.. pilot jet 15 clips needle on 3. And half to one turn out on the screw.
6. Felt like lasted week when running 17.5 pilots jets and main at 112.5 would start on the button. And would rev to 4000rpm the die.
what are you thinking? New plugs without the resistor and what next?
Paul Harris
Please Log in or Create an account to join the conversation.
- Wookie58
-
- Offline
- Moderator
-

Registered
- Posts: 5792
- Thanks: 3607
Re: When open throttle up pass 3k engine Bogs or Dies Help!
20 Feb 2024 15:17
Are your plug caps the type you can remove and push the wires straight onto the plugs
when it won't rev is there black smoke from the exhaust
Have you tried running it without the pods fitted
As already suggested have you tried partially closing the choke when warm, what happens
What is the gas flow coming out of the exhaust like (can you remove the baffle on the exhaust you are running)
Have you tried running it from an alternative fuel supply
Is the tank cap venting
Just a few things that will help establish if it is "weak" or "Rich"
when it won't rev is there black smoke from the exhaust
Have you tried running it without the pods fitted
As already suggested have you tried partially closing the choke when warm, what happens
What is the gas flow coming out of the exhaust like (can you remove the baffle on the exhaust you are running)
Have you tried running it from an alternative fuel supply
Is the tank cap venting
Just a few things that will help establish if it is "weak" or "Rich"
1982 KZ1000 Ltd
www.kzrider.com/forum/11-projects/617631...-82-begins?start=192
kzrider.com/filebase-alias?view=download...d-fault-diagnosis&ca
www.kzrider.com/forum/11-projects/617631...-82-begins?start=192
kzrider.com/filebase-alias?view=download...d-fault-diagnosis&ca
Please Log in or Create an account to join the conversation.
- RedPill
-
- Offline
- User
-

Registered
- Posts: 28
- Thanks: 10
Re: When open throttle up pass 3k engine Bogs or Dies Help!
20 Feb 2024 20:33
Can you double check for any intake leak or cracked boot between the carb and the head?
Please Log in or Create an account to join the conversation.
Moderators: Street Fighter LTD
